包装迷
登陆 / 注册 搜索

USERCENTER

SEARCHSITE

搜索

查看: 5555|回复: 13

一款精致的医疗器械包装

[复制链接]

签到天数: 2317

今日第1个签到

28

回帖

9

声望

345

共享银

包装大良造

Rank: 94Rank: 94Rank: 94Rank: 94Rank: 94Rank: 94Rank: 94Rank: 94Rank: 94Rank: 94

积分
24976
QQ
发表于 2015-1-7 17:21:24 | 显示全部楼层 |阅读模式

评分

参与人数 1共享银 +8 收起 理由
Packme + 8 感谢分享好东西~~

查看全部评分

包装迷,www.packme.cn--为包装工程师和包装工程专业及包装从业者提供专业的技术讨论平台!(如需添加个性签名请到个人资料里面修改)

签到天数: 44

该用户今日未签到

188

回帖

10

声望

1

共享银

包装左庶长

Rank: 42Rank: 42Rank: 42Rank: 42Rank: 42Rank: 42

积分
2434
发表于 2015-1-8 08:50:44 | 显示全部楼层
有创意的包装结构设计,值得好好研究下,不错
包装迷,www.packme.cn--为包装工程师和包装工程专业及包装从业者提供专业的技术讨论平台!(如需添加个性签名请到个人资料里面修改)

签到天数: 1

该用户今日未签到

156

回帖

10

声望

16

共享银

包装公大夫

Rank: 26Rank: 26

积分
627
发表于 2015-1-8 09:18:09 | 显示全部楼层
没看懂他拉出来是怎么左右两边同步出来的!?
包装迷,www.packme.cn--为包装工程师和包装工程专业及包装从业者提供专业的技术讨论平台!(如需添加个性签名请到个人资料里面修改)

该用户从未签到

145

回帖

10

声望

73

共享银

包装不更

Rank: 8Rank: 8Rank: 8Rank: 8

积分
86
发表于 2015-1-8 09:45:10 | 显示全部楼层
最重要的同步出来没看懂,前辈可以详细点吗
包装迷,www.packme.cn--为包装工程师和包装工程专业及包装从业者提供专业的技术讨论平台!(如需添加个性签名请到个人资料里面修改)

签到天数: 2317

今日第1个签到

28

回帖

9

声望

345

共享银

包装大良造

Rank: 94Rank: 94Rank: 94Rank: 94Rank: 94Rank: 94Rank: 94Rank: 94Rank: 94Rank: 94

积分
24976
QQ
 楼主| 发表于 2015-1-8 10:04:44 | 显示全部楼层
dingtao1989 发表于 2015-1-8 09:45
最重要的同步出来没看懂,前辈可以详细点吗


                               
登录/注册后可看大图

                               
登录/注册后可看大图



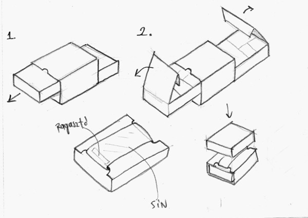
这是中间有一层薄膜连接的

评分

参与人数 1共享银 +2 收起 理由
epackmage + 2 一语道破玄机~

查看全部评分

包装迷,www.packme.cn--为包装工程师和包装工程专业及包装从业者提供专业的技术讨论平台!(如需添加个性签名请到个人资料里面修改)

签到天数: 2649

该用户今日未签到

4249

回帖

12

声望

1136

共享银

管理员

Rank: 72Rank: 72Rank: 72Rank: 72Rank: 72Rank: 72Rank: 72Rank: 72

积分
27644
发表于 2015-1-8 10:12:14 | 显示全部楼层
不错,很有创意和新颖的感觉~~值得借鉴
包装迷,www.packme.cn--为包装工程师和包装工程专业及包装从业者提供专业的技术讨论平台!(如需添加个性签名请到个人资料里面修改)

签到天数: 2649

该用户今日未签到

4249

回帖

12

声望

1136

共享银

管理员

Rank: 72Rank: 72Rank: 72Rank: 72Rank: 72Rank: 72Rank: 72Rank: 72

积分
27644
发表于 2015-1-8 10:32:54 | 显示全部楼层
epackmage 发表于 2015-1-8 10:28
是的,原理上中间有一个支点(滑动轴),薄膜为链接的线。可以理解一下这个图片:
通过红绳连接AB,他们通 ...

图解阿,霸气测漏,简单易懂,感谢..今天就吃透这个结构啦~~每天进步一点点
包装迷,www.packme.cn--为包装工程师和包装工程专业及包装从业者提供专业的技术讨论平台!(如需添加个性签名请到个人资料里面修改)

签到天数: 1

该用户今日未签到

119

回帖

10

声望

78

共享银

包装官大夫

Rank: 20Rank: 20Rank: 20Rank: 20

积分
226
发表于 2015-1-8 23:01:26 | 显示全部楼层
epackmage 发表于 2015-1-8 10:28
是的,原理上中间有一个支点(滑动轴),薄膜为链接的线。可以理解一下这个图片:
通过红绳连接AB,他们通 ...

讲解的真不错,这下懂了。
包装迷,www.packme.cn--为包装工程师和包装工程专业及包装从业者提供专业的技术讨论平台!(如需添加个性签名请到个人资料里面修改)

该用户从未签到

208

回帖

10

声望

27

共享银

包装公大夫

Rank: 26Rank: 26

积分
535
发表于 2015-1-14 16:50:40 | 显示全部楼层
epackmage 发表于 2015-1-8 10:28
是的,原理上中间有一个支点(滑动轴),薄膜为链接的线。可以理解一下这个图片:
通过红绳连接AB,他们通 ...

看你的这个图解, 让人一下惑然开朗了。 那再问下,如此的话,起支点的隔板和起红绳作用的薄膜 是不是应配合的很光滑, 要不然拉,收会一会不自如,薄膜不行的话, 拉几次就坏了, 有没有这个可能
包装迷,www.packme.cn--为包装工程师和包装工程专业及包装从业者提供专业的技术讨论平台!(如需添加个性签名请到个人资料里面修改)

该用户从未签到

142

回帖

10

声望

-12

共享银

包装公乘

Rank: 32Rank: 32Rank: 32Rank: 32

积分
1286
发表于 2015-1-27 22:58:17 | 显示全部楼层
不错,有必要了解下这个新兴的行业
包装迷,www.packme.cn--为包装工程师和包装工程专业及包装从业者提供专业的技术讨论平台!(如需添加个性签名请到个人资料里面修改)
您需要登录后才可以回帖 登录 | 立即注册!

本版积分规则

QQ|小黑屋|包装迷丨PACKME ( 【浙ICP备13020736号-1】 )

GMT+8, 2025-12-20 09:25

快速回复 返回列表