包装迷
登陆 / 注册 搜索

USERCENTER

SEARCHSITE

搜索

查看: 3891|回复: 3

[包装机械] 求助——机装药盒对刀模的特殊要求

[复制链接]

签到天数: 7

该用户今日未签到

145

回帖

9

声望

425

共享银

包装左庶长

Rank: 42Rank: 42Rank: 42Rank: 42Rank: 42Rank: 42

积分
2289
发表于 2014-4-25 16:56:03 | 显示全部楼层 |阅读模式
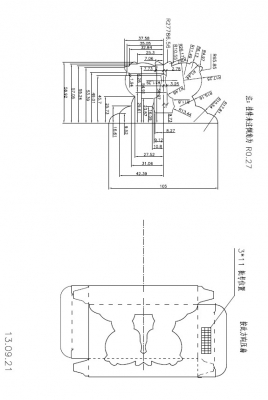
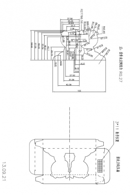
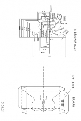
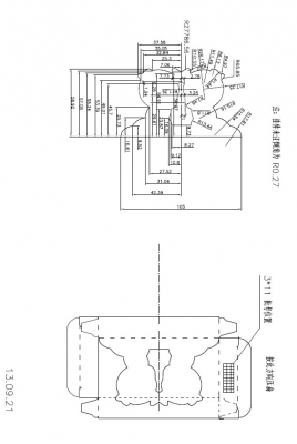
亲爱的大神们,有谁比较精通机装药盒包装刀模图的绘制,请指点迷津。最近接到不少机装药盒的包装,客户会提供一份图纸供参考画刀模,感觉跟平时做的收位不太一样,甚至有些个人感觉还有些不合理。想请教大神,哪些尺寸是必须遵守的,那些可以根据需要修改?如附件图示:
QQ图片20140425165236.jpg
QQ图片20140425165000.jpg
包装迷,www.packme.cn--为包装工程师和包装工程专业及包装从业者提供专业的技术讨论平台!(如需添加个性签名请到个人资料里面修改)

签到天数: 7

该用户今日未签到

145

回帖

9

声望

425

共享银

包装左庶长

Rank: 42Rank: 42Rank: 42Rank: 42Rank: 42Rank: 42

积分
2289
 楼主| 发表于 2014-4-25 17:01:13 | 显示全部楼层
还有两张
QQ图片20140425165043.jpg
QQ图片20140425164939.jpg
包装迷,www.packme.cn--为包装工程师和包装工程专业及包装从业者提供专业的技术讨论平台!(如需添加个性签名请到个人资料里面修改)

签到天数: 1

该用户今日未签到

77

回帖

15

声望

2280

共享银

包装五大夫

Rank: 38Rank: 38Rank: 38Rank: 38Rank: 38Rank: 38

积分
1796
发表于 2014-4-26 09:37:46 | 显示全部楼层
基本都合理啦!!!没什么问题啊!
必须遵守的:长 宽 高   要保证客户的产品能合适装上就好
至于你这个卡纸   缩位要求不高   去吧·~~~~
包装迷,www.packme.cn--为包装工程师和包装工程专业及包装从业者提供专业的技术讨论平台!(如需添加个性签名请到个人资料里面修改)

签到天数: 2643

今日第25个签到

4250

回帖

12

声望

1179

共享银

管理员

Rank: 72Rank: 72Rank: 72Rank: 72Rank: 72Rank: 72Rank: 72Rank: 72

积分
27606
发表于 2014-4-26 17:23:28 | 显示全部楼层
材质用的什么啊?350g白卡?:)
包装迷,www.packme.cn--为包装工程师和包装工程专业及包装从业者提供专业的技术讨论平台!(如需添加个性签名请到个人资料里面修改)
您需要登录后才可以回帖 登录 | 立即注册!

本版积分规则

QQ|小黑屋|包装迷丨PACKME ( 【浙ICP备13020736号-1】 )

GMT+8, 2025-12-11 14:21

快速回复 返回列表